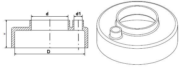
End seals type N |
Dimensions of our end seals and their application:
| Nominal operational values of end seal in milimetres (+/- 5% due to the elasticity of seal) | ||||
|---|---|---|---|---|
| Symbol | d[mm] | d1[mm] | D[mm] | Height [mm] |
| 20/40 | 20 | 40 | 50 | |
| 20/50 | 20 | 50 | 50 | |
| 20/63 | 20 | 63 | 50 | |
| 20/80 | 20 | 90 | 60 | |
| 20/100 | 20 | 110 | 60 | |
| 25/50 | 25 | 50 | 50 | |
| 25/63 | 25 | 63 | 50 | |
| 25/80 | 25 | 90 | 60 | |
| 25/100 | 25 | 110 | 60 | |
| 25/63/100 | 25 | 63 | 110 | 83 |
| 32/80 | 32 | 90 | 60 | |
| 32/100 | 32 | 110 | 60 | |
| 32/63/100 | 32 | 63 | 110 | 83 |
| 32/100/150 | 32 | 110 | 160 | 88 |
| 40/75 | 40 | 75 | 60 | |
| 40/80 | 40 | 90 | 60 | |
| 40/100 | 40 | 110 | 60 | |
| 40/63/100 | 40 | 63 | 110 | 83 |
| 40/63/125 | 40 | 63 | 125 | 83 |
| 40/50/63/125 | 40 | 50-63 | 125 | 95 |
| 40/100/150 | 40 | 110 | 160 | 88 |
| 50/100 | 50 | 110 | 60 | |
| 50/63/100 | 50 | 63 | 110 | 95 |
| 50/125 | 50 | 125 | 52 | |
| 50/63/125 | 50 | 63 | 125 | 83 |
| 50/80/140 | 50 | 90 | 140 | 98 |
| 50/100/150 | 50 | 110 | 160 | 88 |
| 63/100 | 63 | 110 | 60 | |
| 63/125 | 63 | 125 | 52 | |
| 63/80/140 | 63 | 90 | 140 | 101 |
| 63/100/150 | 63 | 110 | 160 | 88 |
| 63/100/180 | 63 | 110 | 180 | 95 |
| 75/80/140 | 75 | 90 | 140 | 102 |
| 75/100/150 | 75 | 110 | 160 | 89 |
| 75/125/200X | 75 | 125 | 200 | 100 |
| 75/150/200 | 75 | 160 | 219 | 100 |
| 80/140 | 90 | 140 | 74 | |
| 80/100/150 | 90 | 110 | 160 | 89 |
| 80/180 | 90 | 180 | 93 | |
| 80/125/200X | 90 | 125 | 200 | 100 |
| 80/150/200 | 90 | 160 | 219 | 100 |
| 80/150/250X | 90 | 160 | 250 | 100 |
| 80/200/300 | 90 | 223 | 323 | 100 |
| 100/150 | 110 | 160 | 60 | |
| 100/180 | 110 | 180 | 93 | |
| 100/125/200X | 110 | 125 | 200 | 100 |
| 100/150/200 | 110 | 160 | 219 | 100 |
| 100/250X | 110 | 250 | 75 | |
| 100/150/250X | 110 | 160 | 250 | 95 |
| 100/250 | 110 | 273 | 75 | |
| 100/150/250 | 110 | 160 | 273 | 100 |
| 100/200/300 | 110 | 219 | 323 | 100 |
| 100/400 | 110 | 420 | 90 | |
| 125/200X | 125 | 200 | 80 | |
| 125/150/200 | 125 | 160 | 219 | 100 |
| 125/150/250X | 125 | 160 | 250 | 95 |
| 125/250 | 125 | 273 | 75 | |
| 125/150/250 | 125 | 160 | 273 | 100 |
| 140/150/250X | 140 | 160 | 250 | 95 |
| 150/200X | 160 | 200 | 100 | |
| 150/200 | 160 | 219 | 80 | |
| 150/250X | 160 | 250 | 70 | |
| 150/250 | 160 | 273 | 75 | |
| 150/200/300 | 160 | 219 | 323 | 100 |
| 150/350 | 160 | 355 | 95 | |
| 150/400 | 160 | 420 | 90 | |
| 180/200X/250 | 180 | 200 | 273 | 100 |
| 180/200/300 | 180 | 219 | 323 | 100 |
| 200X/250 | 200 | 273 | 75 | |
| 200X/200/300 | 200 | 219 | 323 | 100 |
| 200X/350 | 200 | 355 | 95 | |
| 200X/400 | 200 | 420 | 90 | |
| 200X/450 | 200 | 450 | 85 | |
| 200X/500 | 200 | 508 | 108 | |
| 200/300 | 219 | 323 | 70 | |
| 200/350 | 219 | 355 | 95 | |
| 200/400 | 219 | 420 | 90 | |
| 200/450 | 219 | 450 | 100 | |
| 250X/350 | 250 | 355 | 90 | |
| 250X/400 | 250 | 420 | 90 | |
| 250X/500 | 250 | 508 | 108 | |
| 250/350 | 273 | 355 | 95 | |
| 250/400 | 273 | 420 | 95 | |
| 250/450 | 273 | 450 | 85 | |
| 250/500 | 273 | 508 | 108 | |
| 300/400 | 323 | 420 | 90 | |
| 300/450 | 323 | 450 | 85 | |
| 300/500 | 323 | 508 | 108 | |
| 350/500 | 355 | 508 | 108 | |
| 400/500 | 420 | 508 | 108 | |
| 400/500/560 | 420 | 508 | 560 | 115 |
| X - matching with PVC, PE pipes Other dimensions on request |
||||
Installation comprises the mounting of the seal on the casing pipe and moving of the carrier pipe into place. The joint is sealed via the tightening of stainless steel band clamps over the seal.
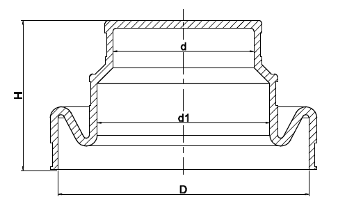
Straight end seals |
Cross section of straight end seal:
Straight end seals selection chart:
| Nominal operational values of end seal in milimetres (+/- 5% due to the elasticity of seal) | ||
|---|---|---|
| Symbol | d [mm] | D [mm] |
| 20/50 | 20 | 50 |
| 20/75 | 20 | 75 |
| 25/50 | 25 | 50 |
| 32/63 | 32 | 63 |
| 32/75 | 32 | 75 |
| 50/80 | 50 | 90 |
| 63/80 | 63 | 90 |
| 250X/300 | 250 | 300 |
| 400/500 | 400 | 500 |
| X -matching with PVC, PE pipes Other dimensions on request |
||
Special (multi-pipe) end seals |
Special end seals selection chart:
| Nominal operational values of end seal in milimetres (+/- 5% due to the elasticity of seal) | |||
|---|---|---|---|
| Symbol | d[mm] | d1[mm] | D[mm] |
| 100/40+40 | 40 | 40 | 100 |
| 250X/75+63 | 75 | 63 | 250 |
| 250/125+40 | 125 | 40 | 273 |
| 323/168+40 | 168 | 40 | 323 |
| X - matching with PVC, PE pipes Other dimensions on request |
|||
Closed end seals |
Closed end seals selection chart:
| Nominal operational values of end seal in milimetres (+/- 5% due to the elasticity of seal) | |||
|---|---|---|---|
| Symbol | d[mm] | d1[mm] | D[mm] |
| 80Z/100/150 | 80 | 110 | 160 |
| 110Z/180 | 110 | 180 | |
| 150Z/200 | 160 | 219 | |
| 200Z/250 | 219 | 273 | |
| 250 korek | 273 | ||
| 250Z/350 | 273 | 350 | |
| 323 korek | 323 | ||
| 350Z/500 | 350 | 508 | |
| 400 korek | 406 | ||
| 400Z/500 | 400 | 508 | |
| Other dimensions on request | |||
Installation comprises the mounting of the seal on the casing pipe and tightening of a stainless steel band clamp over the seal.
Eccentric end seals |
Eccentric end seals selection chart:
| Nominal operational values of end seal in milimetres (+/- 5% due to the elasticity of seal) | |||
|---|---|---|---|
| Symbol | d[mm] | d1[mm] | D[mm] |
| 100/300 | 100 | 200 | 300 |
| 150/300 | 150 | 200 | 300 |
| Other dimensions on request | |||
End seals type CU |
CU end seals are used in large-diameter pipes and in the case of unusual diameters of carrier and casing pipes. These end seals are designed for sealing installations routed in casings or construction partitions. They are used in non-pressure conditions (up to 2 meters of water column height) and protect against migration of water, mud and gas along the pipeline. The assembly consists in fitting an end seal on the casing, displacing the carrier pipe. The tightness is achieved by tightening the stainless steel bands.
| Dimensions [mm] | |
|---|---|
| Carrier pipe DN[mm] | Casing pipe diameter DN[mm] |
| 400 | 600 |
| 500 | 800 |
| 600 | 900 |
| 700 | 1000 |
| 800 | 1200 |
| 900 | 1300 |
| 1000 | 1400 |
| 1100 | 1600 |
| 1200 | 1700 |
| Other end seals available on request | |
Custom end seals can be produced at the request of the client, depending on project-specific needs.


















